Menu +
Generic selectors
Exact matches only
Search in title
Search in content
Post Type Selectors
Search in posts
Search in pages

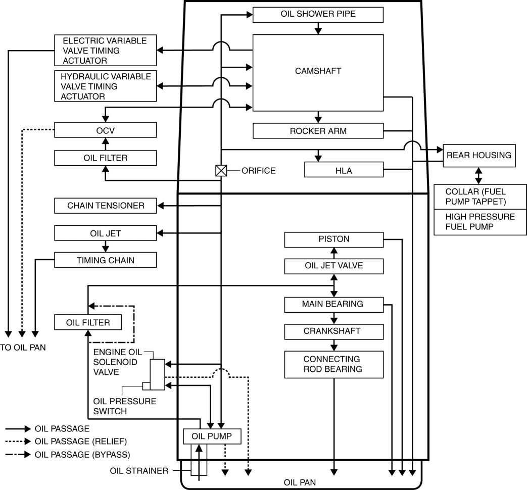
LUBRICATION SYSTEM [SKYACTIV-G 2.0]

< Previous Next >

2016 – MX-5 – Engine

LUBRICATION SYSTEM [SKYACTIV-G 2.0]

Outline

  • The entire oil passage in the engine has been shortened to reduce pressure loss.

  • A chain drive type oil pump has been adopted to reduce oil pump drive force.

  • An oil shower pipe has been adopted to reduce sliding resistance.

  • An engine oil solenoid valve has been adopted to reduce oil pump drive resistance.

Structural View

Flow View

Structure

  • Consists of the following parts:

Oil filter

Oil pan

Oil strainer

Oil pump

Oil jet valve

Engine oil solenoid valve

Oil shower pipe

< Previous Next >

© 2014 Mazda North American Operations, U.S.A.