ENGINE DISASSEMBLY/ASSEMBLY [SKYACTIV-D 1.5]


id0110q2800500

Caution
•  When the transaxle is installed, do not suspend the engine. Otherwise, the SST installation area of the cylinder head may be damaged due to excess weight. Only suspend the engine after separating the engine and transaxle.

1.  Remove the rubber bracket.

am2zzw00010125

2.  Install the SST to the position shown in the figure using the following bolt and washer.

am2zzw00010126
am2zzw00010127

Bolt: part number 99794 1025 or an M10 × 1.25, length 25 mm {0.98 in}
Washer: approx. 3 mm {0.1 in} thickness
Tightening torque
38—51 N·m {3.9—5.2 kgf·m, 29—37 ft·lbf}

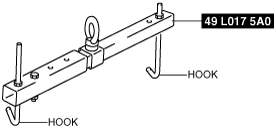
3.  Engage the hooks of the SST (49 L017 5A0) to the SST (49 UN30 3050).

ac5wzw00005215

Caution
•  Do not lift up the engine.

4.  To ensure the safety of the work (control engine and transaxle sway), set a hoist as shown in the figure.

ac5jjw00005202

5.  Disconnect the ground cable.

am2zzw00010128

6.  Remove the wiring bracket installation bolts.

am2zzw00010129

7.  Remove the crankshaft pulley cover. (See FRONT OIL SEAL REPLACEMENT [SKYACTIV-D 1.5].)

8.  Remove the exhaust system. (See EXHAUST SYSTEM REMOVAL/INSTALLATION [SKYACTIV-D 1.5].)

9.  Remove the variable geometry turbocharger. (See TURBOCHARGER WITH VARIABLE TURBINE GEOMETRY REMOVAL/INSTALLATION [SKYACTIV-D 1.5].)

10.  Remove the bracket No.1. (See FRONT DRIVE SHAFT REMOVAL/INSTALLATION.)

11.  Remove the electric water pump. (See ELECTRIC WATER PUMP REMOVAL/INSTALLATION [SKYACTIV-D 1.5].)

12.  Remove the starter. (See STARTER REMOVAL/INSTALLATION [SKYACTIV-D 1.5].)

13.  Remove the generator. (See GENERATOR REMOVAL/INSTALLATION [WITH i-ELOOP (SKYACTIV-D 1.5)].) (See GENERATOR REMOVAL/INSTALLATION [WITHOUT i-ELOOP (SKYACTIV-D 1.5)].)

14.  Remove the drive belt auto tensioner. (See DRIVE BELT AUTO TENSIONER REMOVAL/INSTALLATION [SKYACTIV-D 1.5].)

15.  Lock the drive plate against rotation using the crankshaft pulley lock bolt. (ATX)

16.  Remove the torque converter installation nut from the starter installation hole. (See AUTOMATIC TRANSAXLE REMOVAL/INSTALLATION [EW6A-EL].)

17.  Disconnect the engine and transaxle, and lower only the engine from the engine lifter. (See MANUAL TRANSAXLE REMOVAL/INSTALLATION [F66M-R (SKYACTIV-D 1.5)] (MTX).) (See AUTOMATIC TRANSAXLE REMOVAL/INSTALLATION [EW6A-EL] (ATX).)

18.  Remove the clutch cover and clutch disc. (MTX) (See CLUTCH UNIT REMOVAL/INSTALLATION [F66M-R].)

19.  Remove the water-cooled charge air cooler reserve tank. (See WATER-COOLED CHARGE AIR COOLER RESERVE TANK REMOVAL/INSTALLATION [SKYACTIV-D 1.5].)

20.  Remove the intake-air system. (See INTAKE-AIR SYSTEM REMOVAL/INSTALLATION [SKYACTIV-D 1.5].)

21.  Remove the following fuel system related parts:

22.  Remove the glow plugs. (See GLOW PLUG REMOVAL/INSTALLATION [SKYACTIV-D 1.5].)

23.  Remove the vacuum pump. (See VACUUM PUMP REMOVAL/INSTALLATION [SKYACTIV-D 1.5].)

24.  Remove the oil cooler. (See OIL COOLER REMOVAL/INSTALLATION [SKYACTIV-D 1.5].)

25.  Remove the oil filter. (See OIL FILTER REPLACEMENT [SKYACTIV-D 1.5].)

26.  Remove the engine oil solenoid valve. (See ENGINE OIL SOLENOID VALVE REMOVAL/INSTALLATION [SKYACTIV-D 1.5].)

27.  Remove the following control system related parts:

•  Engine oil temperature sensor/engine oil pressure sensor (See ENGINE OIL TEMPERATURE SENSOR/ENGINE OIL PRESSURE SENSOR REMOVAL/INSTALLATION [SKYACTIV-D 1.5].)

28.  Remove in the order indicated in the table

29.  Assemble in the reverse order of disassembly.

Step 1

am2zzw00010130

1
Turbocharger solenoid valve component
2
Insulator No.1
3
Exhaust gas pressure sensor No.1 component
4
Insulator No.2
5
Exhaust gas temperature sensor No.2 bracket
6
Water pipe
7
Seal rubber

Step 2

am2zzw00010131

8
Water outlet
9
Generator bracket
10
Water pump component
11
Electric water pump bracket


Seal rubber removal note

1.  Disconnect or remove the following parts in the order of the numbers shown in the figure.

adejjw00014069

(1)  Wiring harness clip
(2)  Exhaust gas pressure sensor No.2 installation bolts
(3)  Wiring harness protector installation bolts

2.  Remove the engine wiring harness.

3.  Remove the seal rubber.


Electric water pump bracket installation note

1.  Insert the tab of the electric water pump bracket into the lower cylinder block hole and install the electric water pump bracket.

am2zzw00010132

Tightening torque
20—26 N·m {2.1—2.6 kgf·m, 15—19 ft·lbf}


Water pump component installation note

Caution
•  Be aware of the following points, otherwise a poor seal could result.
―  Do not allow oil (such as engine oil, ATF) to get on the gasket, otherwise the water pump gasket will swell.
―  Verify that there is no lifting or detachment of the water pump gasket.

1.  Insert a new water pump gasket into the groove of the water pump component.

2.  Tighten the water pump component installation bolts in the order shown in the figure.

am2zzw00010133

Tightening torque
26—32 N·m {2.7—3.2 kgf·m, 20—23 ft·lbf}


Generator bracket installation note

1.  Tighten the generator bracket installation bolt using the following procedure:

am2zzw00010134

(1)  Temporarily tighten the bolt (1).
(2)  Tighten the bolts in the order of (2) and (3).
Tightening torque
47—57 N·m {4.8—5.8 kgf·m, 35—42 ft·lbf}
(3)  Tighten the bolt (1).
Tightening torque
47—57 N·m {4.8—5.8 kgf·m, 35—42 ft·lbf}


Water outlet installation note

Caution
•  Be aware of the following points, otherwise a poor seal could result.
―  Do not allow oil (such as engine oil, ATF) to get on the gasket, otherwise the water outlet gasket will swell.
―  Verify that there is no lifting or detachment of the gasket.

Seal rubber installation note

1.  Install the seal rubber to the engine.

am2zzw00010135

2.  Return the engine wiring harness to its original position.

3.  Install the following parts in the order of the numbers shown in the figure.

adejjw00014070

(1)  Wiring harness protector installation bolts
Tightening torque
8—11 N·m {82—112 kgf·cm, 71—97 in·lbf}
(2)  Exhaust gas pressure sensor No.2 installation bolts
Tightening torque
8—10 N·m {82—101 kgf·cm, 71—88 in·lbf}
(3)  Wiring harness clip


Water pipe installation note

Caution
•  Be aware of the following points, otherwise a poor seal could result.
―  Do not allow oil (such as engine oil, ATF) to get on the O-ring, otherwise the O-ring will swell.
―  Be careful not to damage the O-ring when installing the water pipe.

1.  Apply engine coolant to the new O-ring.

2.  Install the water pipe.

Tightening torque
8—11 N·m {82—112 kgf·cm, 71—97 in·lbf}