CURTAIN AIR BAG MODULE REMOVAL/INSTALLATION [TWO-STEP DEPLOYMENT CONTROL SYSTEM]


id0810b1800900

Warning
•  Handling the curtain air bag module improperly can accidentally deploy the air bag module, which may seriously injure you. Read the air bag system service warnings and cautions before handling the air bag module. (See AIR BAG SYSTEM SERVICE WARNINGS [TWO-STEP DEPLOYMENT CONTROL SYSTEM].) (See AIR BAG SYSTEM SERVICE CAUTIONS [TWO-STEP DEPLOYMENT CONTROL SYSTEM].)

1.  Switch the ignition off.

2.  Disconnect the negative battery cable and wait for 1 min or more. (See NEGATIVE BATTERY CABLE DISCONNECTION/CONNECTION.)

3.  Remove the following parts:

(1)  A-pillar trim (See A-PILLAR TRIM REMOVAL/INSTALLATION.)
(2)  Sunvisor (See SUNVISOR REMOVAL/INSTALLATION.)
(3)  Front map light (dual light type) (See FRONT MAP LIGHT REMOVAL/INSTALLATION.)
(4)  Assist handle (See ASSIST HANDLE REMOVAL/INSTALLATION.)
(5)  Coat hook (See HEADLINER REMOVAL/INSTALLATION.)
(6)  Front scuff plate (See FRONT SCUFF PLATE REMOVAL/INSTALLATION.)
(7)  Rear scuff plate (See REAR SCUFF PLATE REMOVAL/INSTALLATION.)
(8)  B-pillar lower trim (See B-PILLAR LOWER TRIM REMOVAL/INSTALLATION.)
(9)  Adjust anchor cover (See FRONT SEAT BELT REMOVAL/INSTALLATION.)
(10)  Upper anchor installation bolt on the front seat belt (See FRONT SEAT BELT REMOVAL/INSTALLATION.)
(11)  B-pillar upper trim (See B-PILLAR UPPER TRIM REMOVAL/INSTALLATION.)
(12)  Rear seat cushion (See REAR SEAT CUSHION REMOVAL/INSTALLATION.)
(13)  Lower anchor installation bolt on the rear center seat belt (See REAR CENTER SEAT BELT REMOVAL/INSTALLATION.)
(14)  Rear seat back (See REAR SEAT BACK REMOVAL/INSTALLATION.)
(15)  Rear package tray (See REAR PACKAGE TRAY REMOVAL/INSTALLATION.)
(16)  Trunk covering (See TRUNK COVERING REMOVAL/INSTALLATION.)
(17)  Trunk end trim (See TRUNK END TRIM REMOVAL/INSTALLATION.)
(18)  Trunk side trim (See TRUNK SIDE TRIM REMOVAL/INSTALLATION.)
(19)  C-pillar trim (See C-PILLAR TRIM REMOVAL/INSTALLATION.)
(20)  Headliner (See HEADLINER REMOVAL/INSTALLATION.)

4.  Using a flathead screwdriver, lift the locking device carefully, however do not remove it.

am2zzw00009698

5.  Disconnect the curtain air bag module connector.

6.  Remove the clip. (See Clip Removal Note.)

am2zzw00009699

7.  Remove bolts A.

8.  Remove bolt B.

9.  Remove bolt C.

10.  Move guide A in the order of arrows (1), (2), and (3) shown in the figure, and remove it from the body.

am2zzw00009700

11.  Move guide B in the order of arrows (1) and (2) shown in the figure and remove it from the body.

12.  Move guide C in the order of arrows (1) and (2) shown in the figure and remove it from the body.

13.  Remove the curtain air bag module.

14.  Install in the reverse order of removal.

15.  Switch the ignition ON (engine off or on).

16.  Verify that the air bag/seat belt pre-tensioner system warning light illuminates for approx. 6 s and turns off.

•  If the air bag/seat belt pre-tensioner system warning light does not operate normally, refer to the on-board diagnostic system (air bag system) and perform inspection of the system. (See FLOWCHART [TWO-STEP DEPLOYMENT CONTROL SYSTEM].)


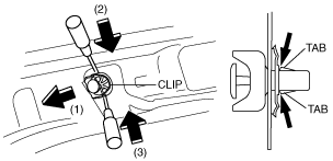
Clip Removal Note

1.  Pull out the pin with flathead screwdriver as shown in the figure.

am3uuw00004223

2.  Insert a flathead screwdriver into shown in the figure.

ac5uuw00002517

3.  While pulling the curtain air bag in the direction of the arrow shown in the figure (1), detach tabs by prying with a flathead screwdriver in the direction of the arrow (2) (3).

am2zzw00012434

4.  Remove the clip from the body.